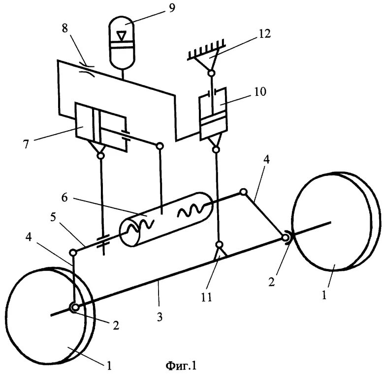
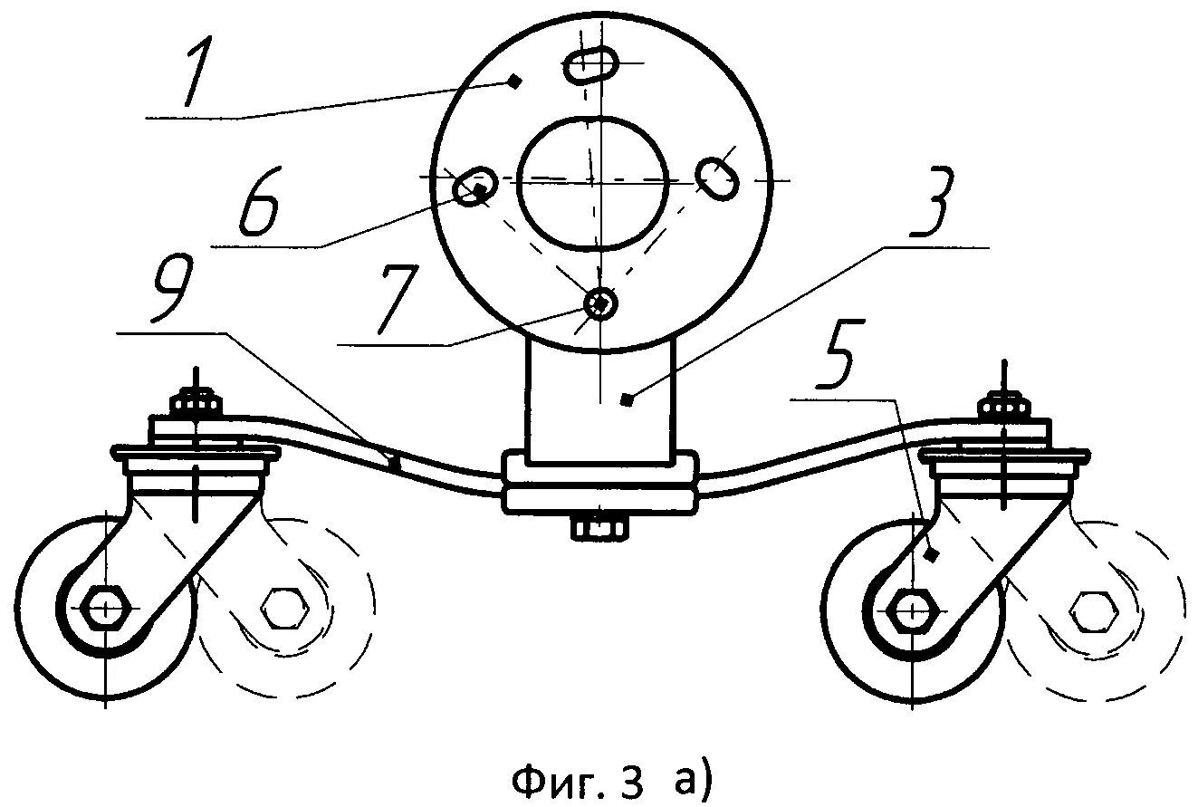
Патенты автотранспорт