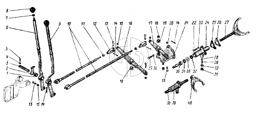
Переключение раздатки урал