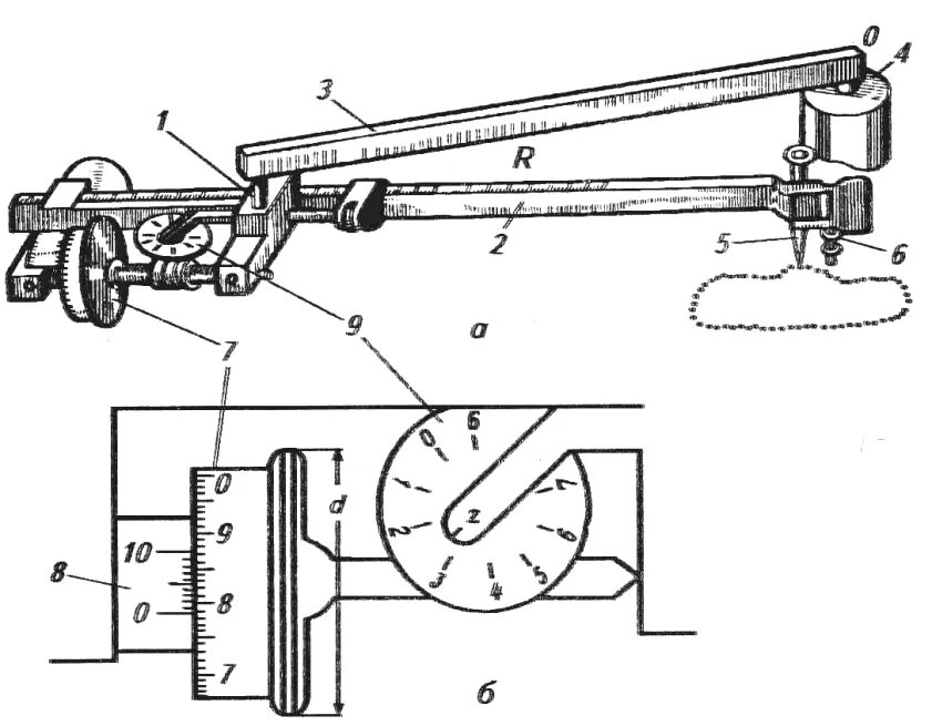
Площадь прибор