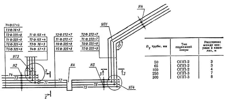
Подвижные опоры расстояние