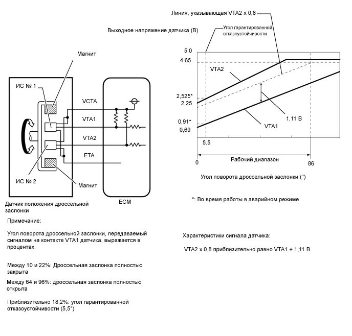
Положение дроссельной заслонки в процентах норма