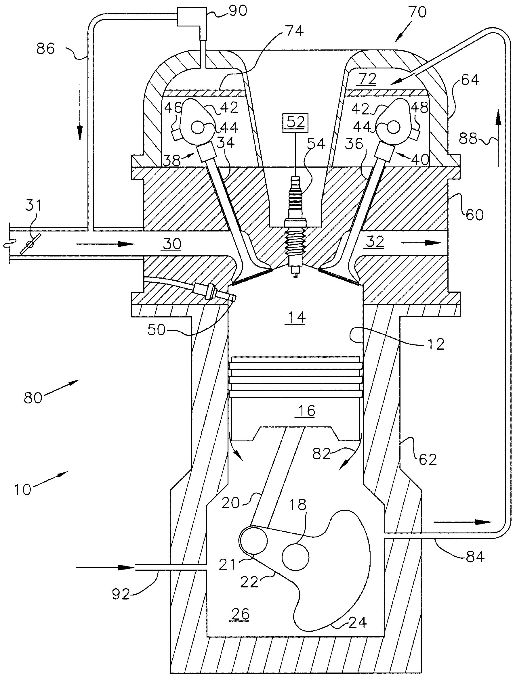
Положение поршня в цилиндре двигателя