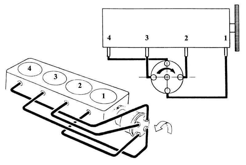
Порядок работы цилиндров рено