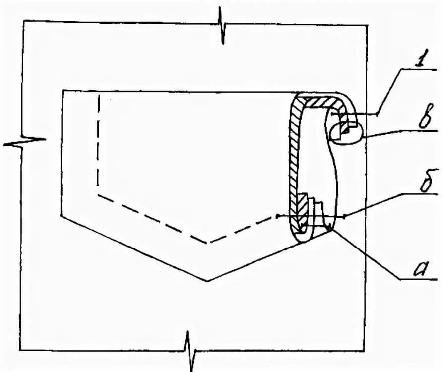
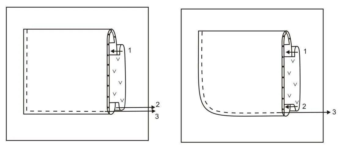
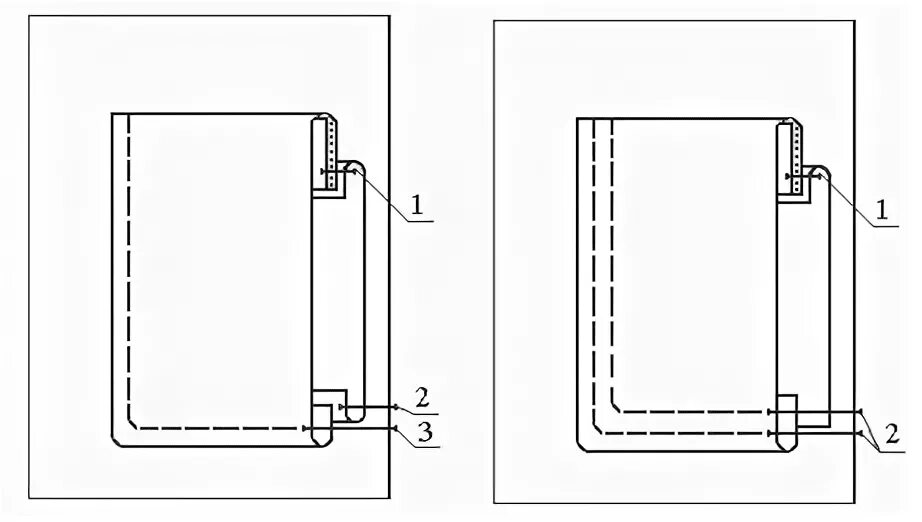
При соединении накладного кармана с изделием карман