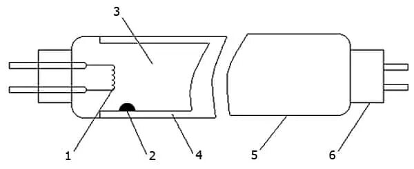
Принцип люминесцентной лампы