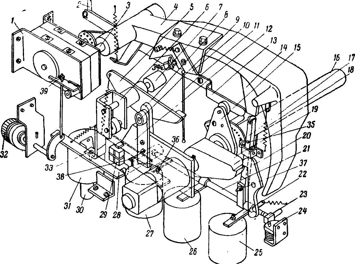
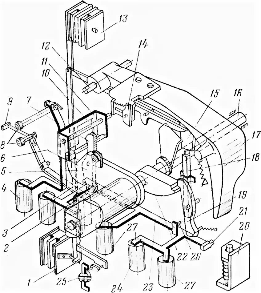
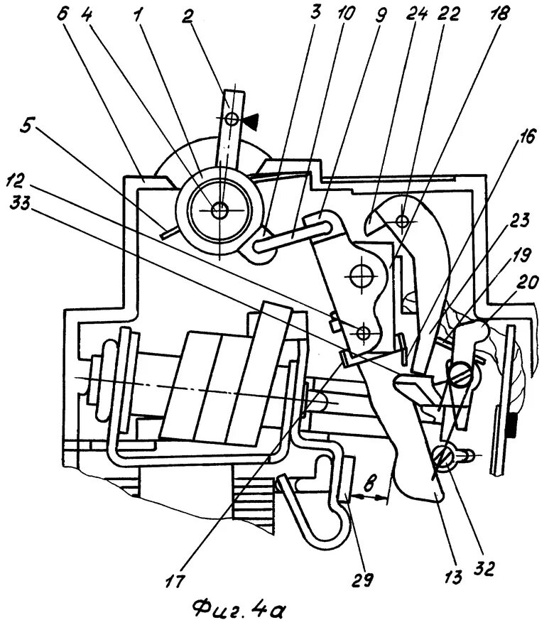
Привод пп 67