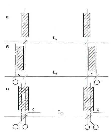
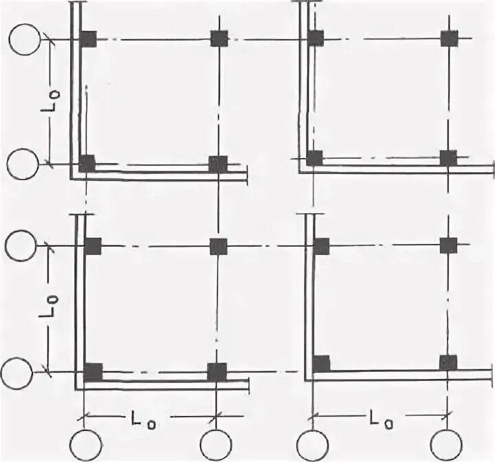
Привязка элемента