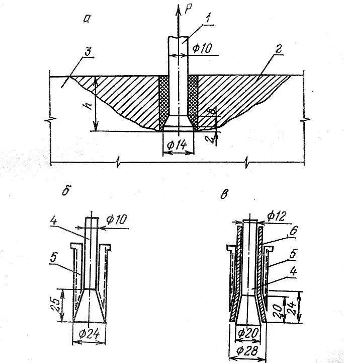
Прочность на отрыв