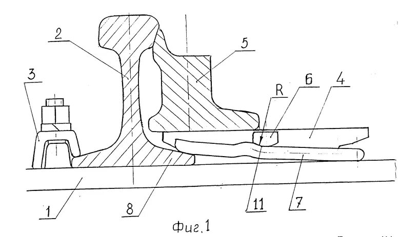
Проектная высота рамного рельса р 65