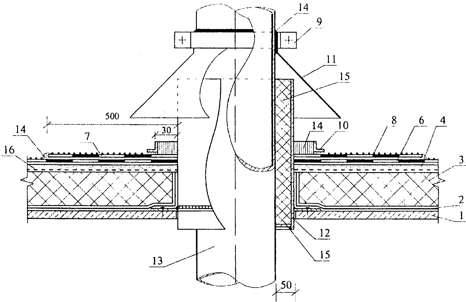
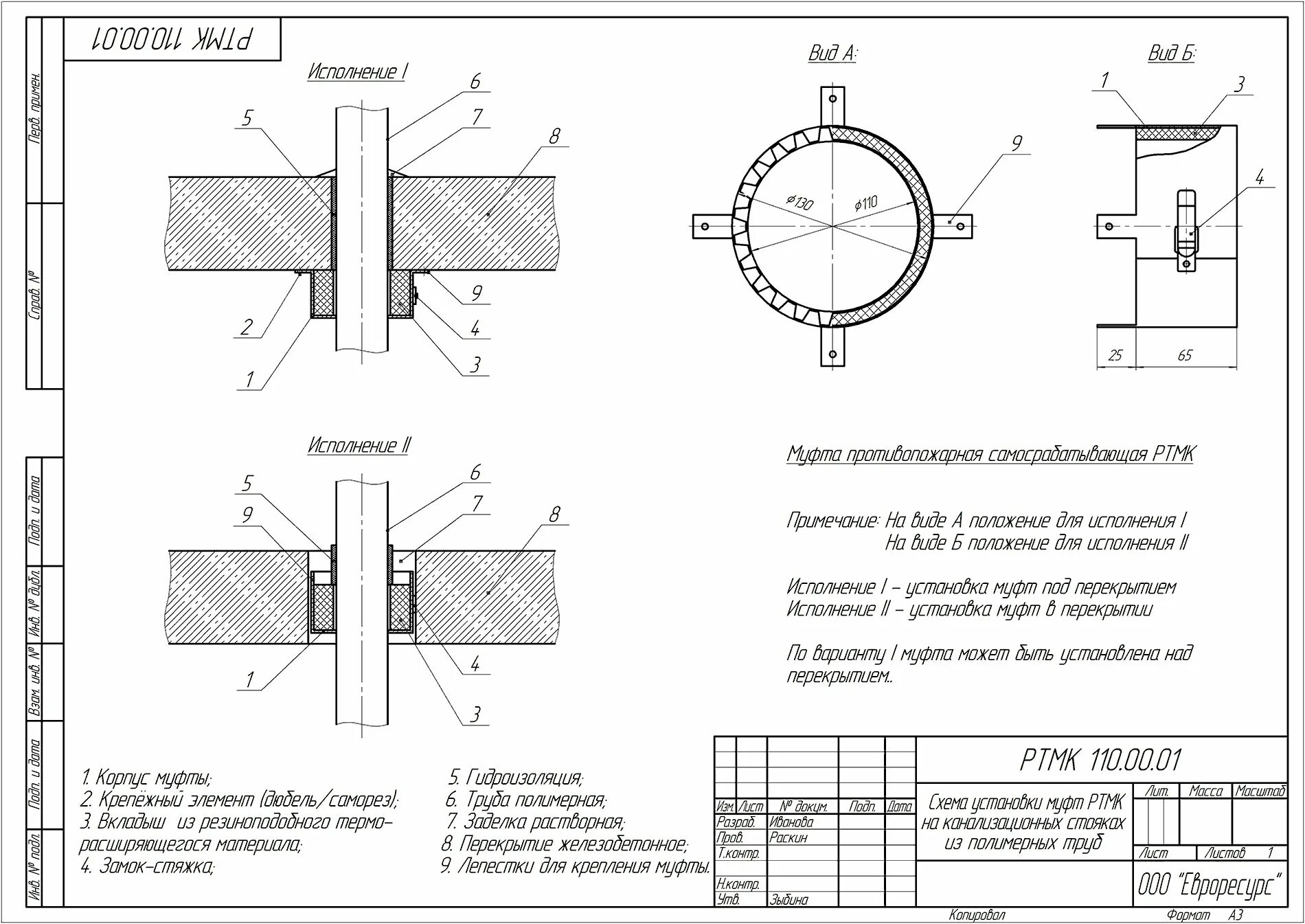
Проход через соседей