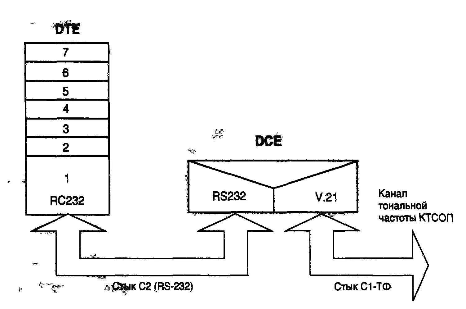
Протокола передачи данных по модему