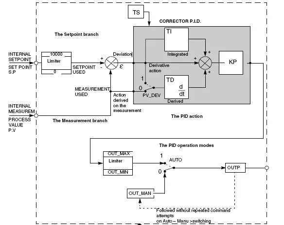
Pt pid