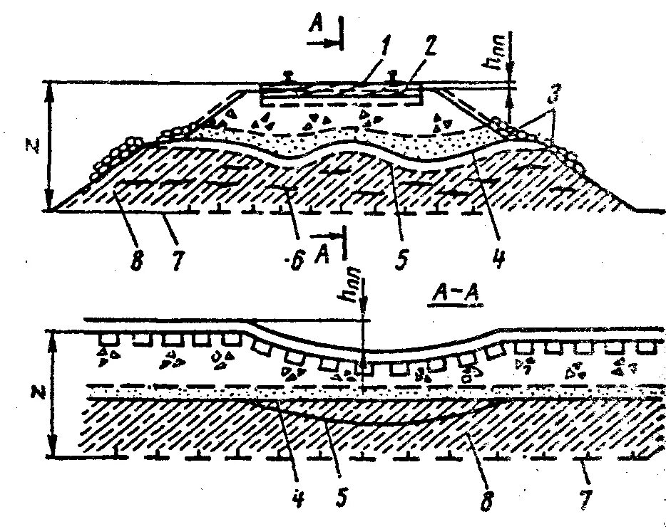
Пучинные горбы