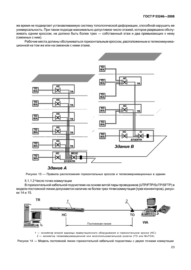
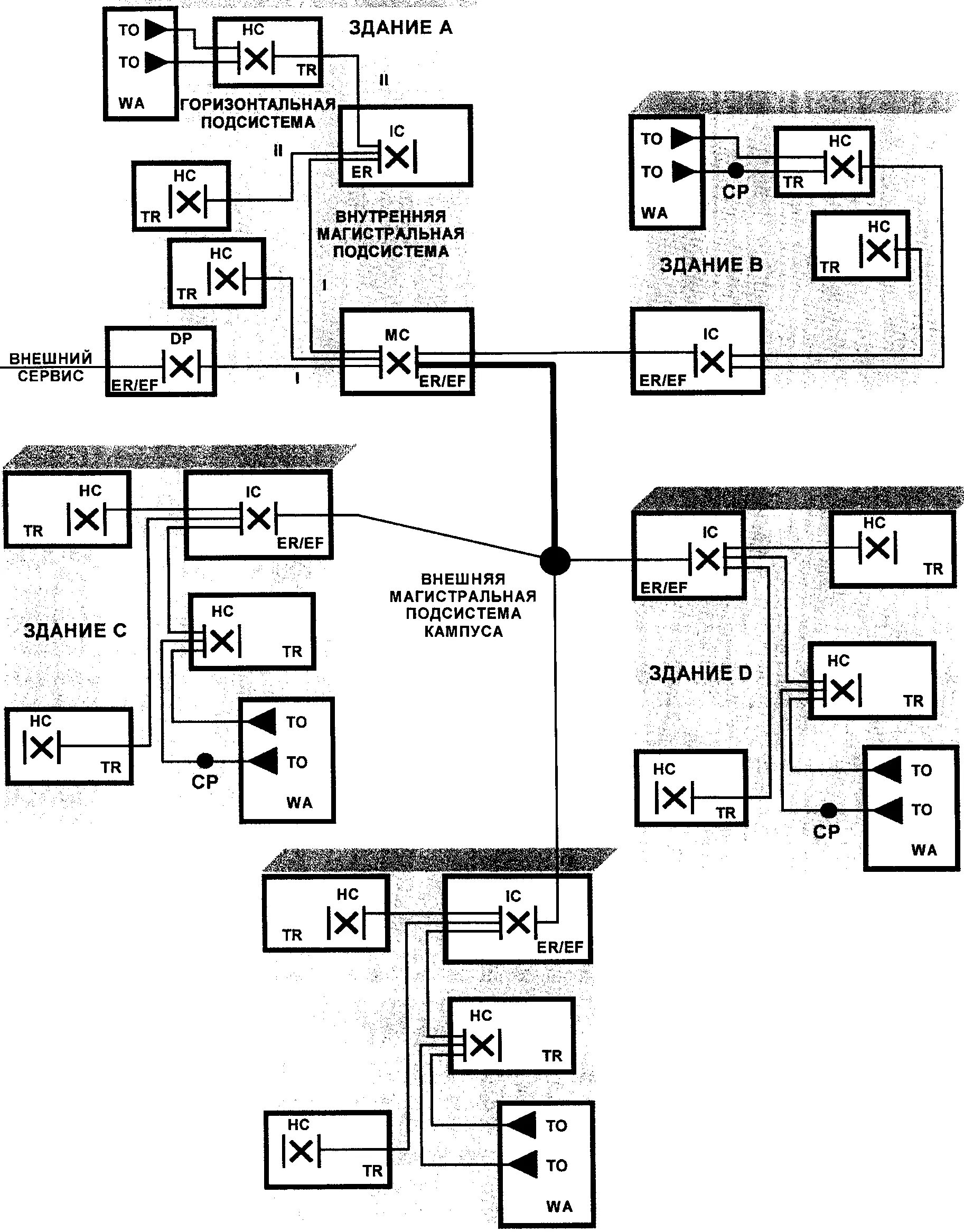
Р 53246 2008