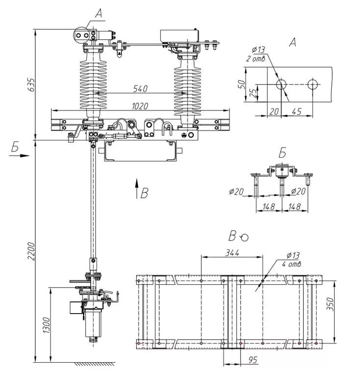
Разъединитель рг