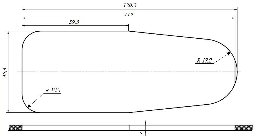
Размеры зеркальных элементов