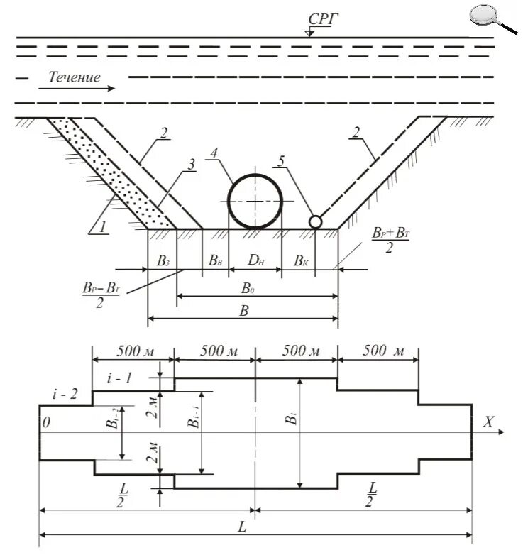
Разработка траншеи с откосами