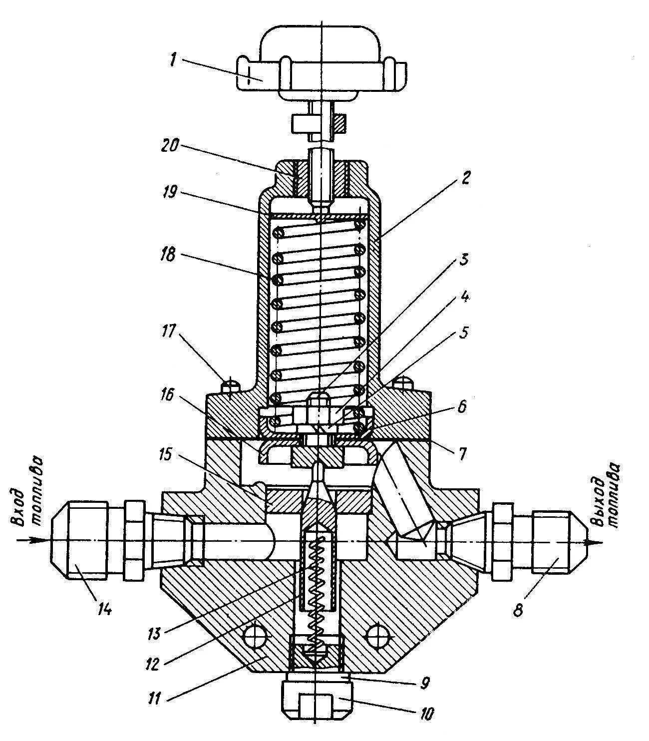
Регулировка редукционного клапана