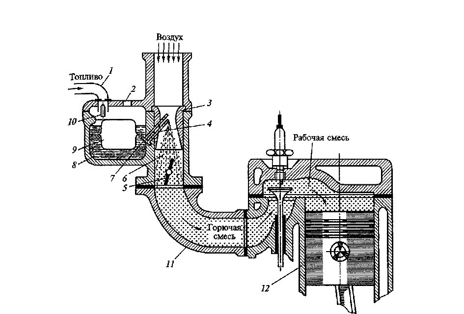
Регулятор количества горючей смеси