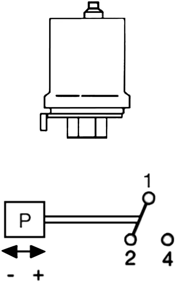
Реле ff 4 8