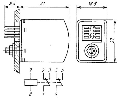
Рэс6