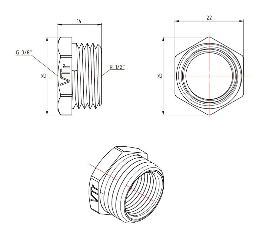
Резьба к3 8