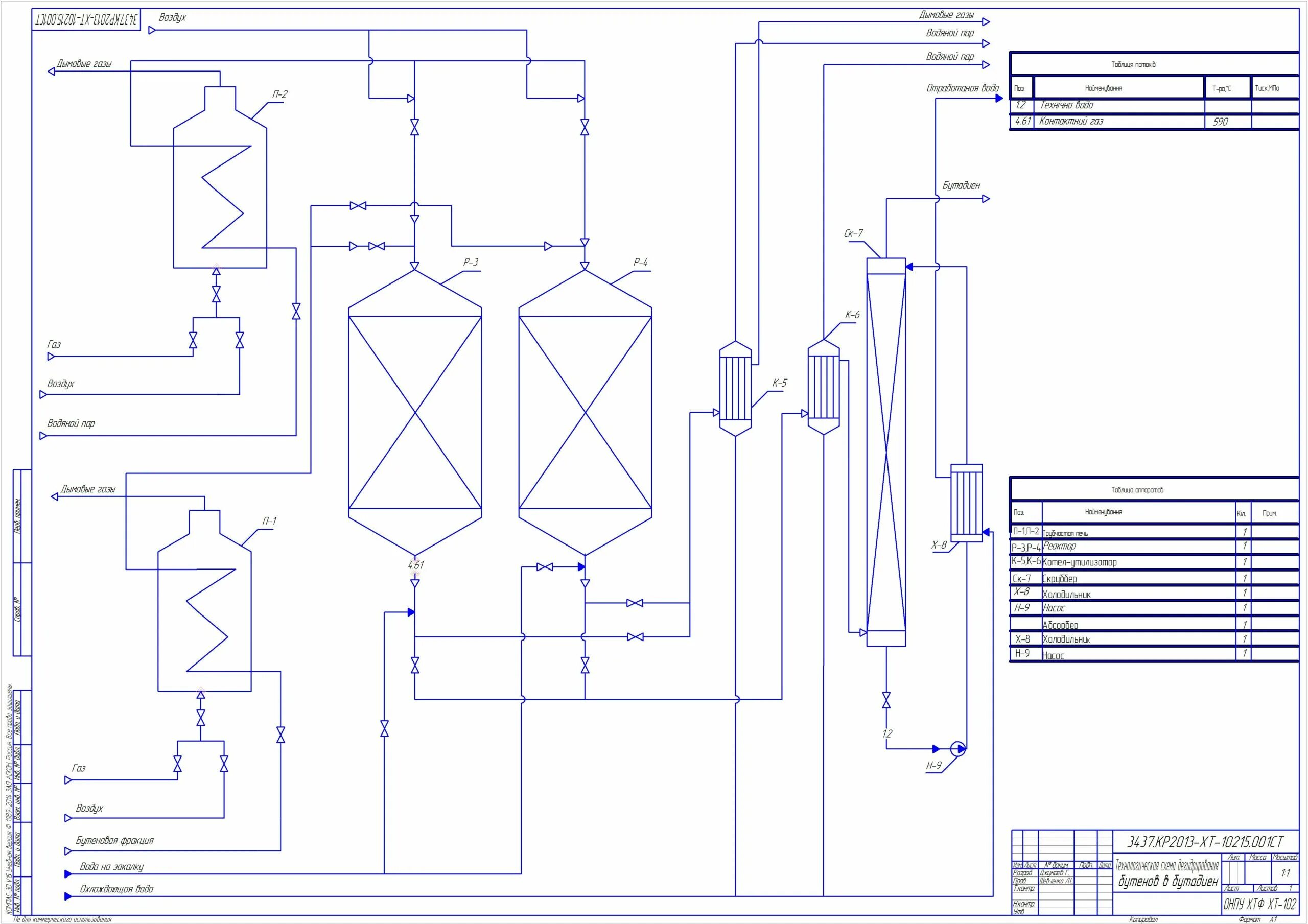
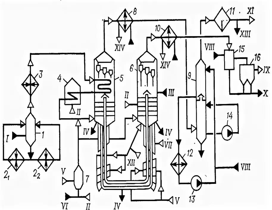
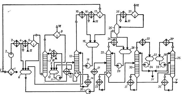
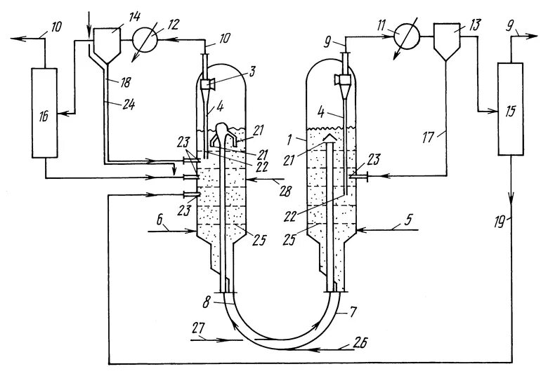
Схема дегидрирования