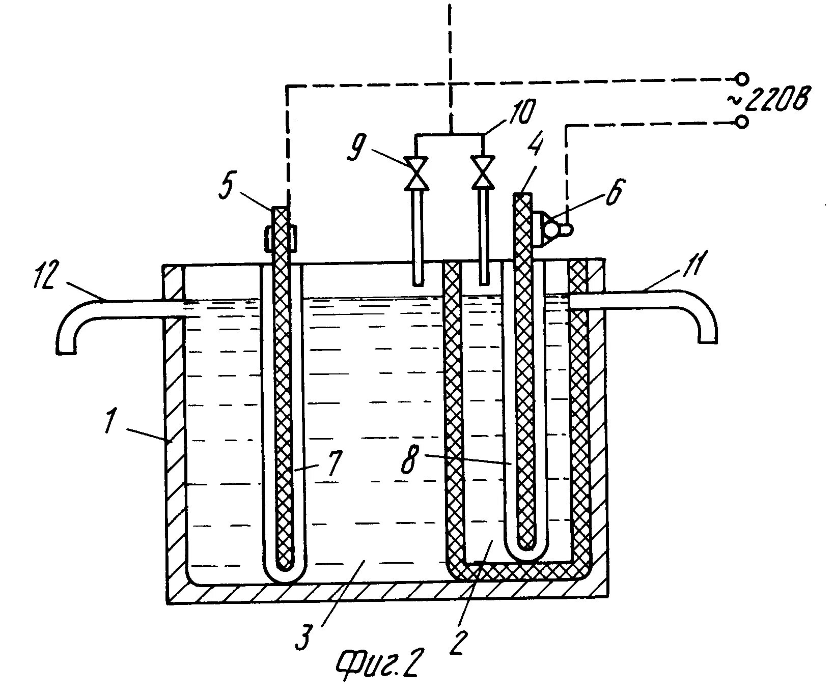
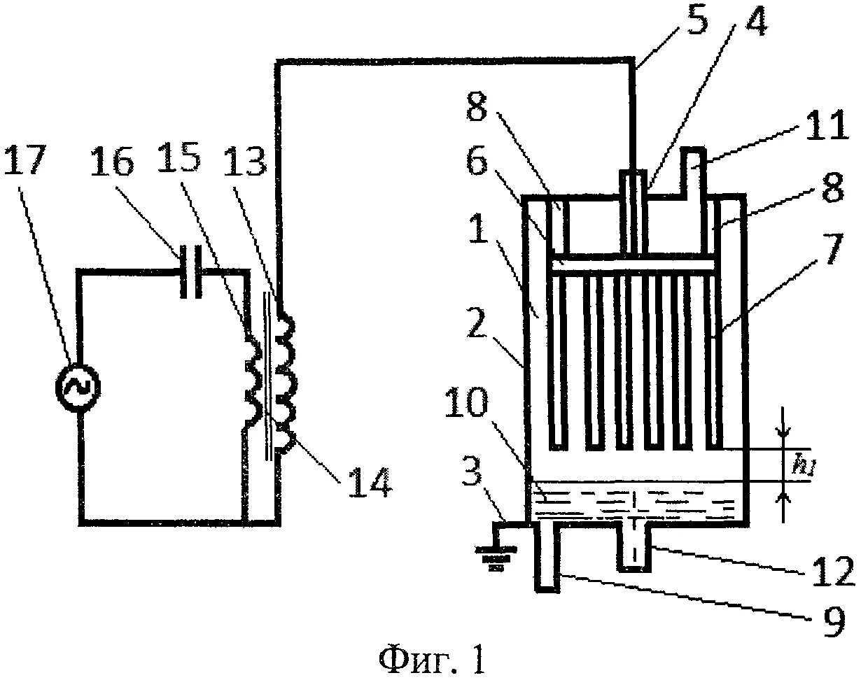
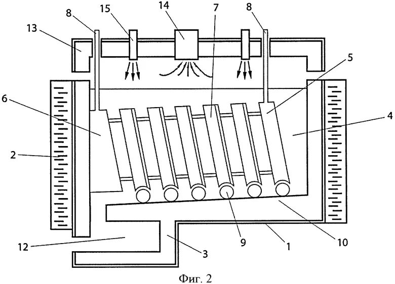
Схема электролизера