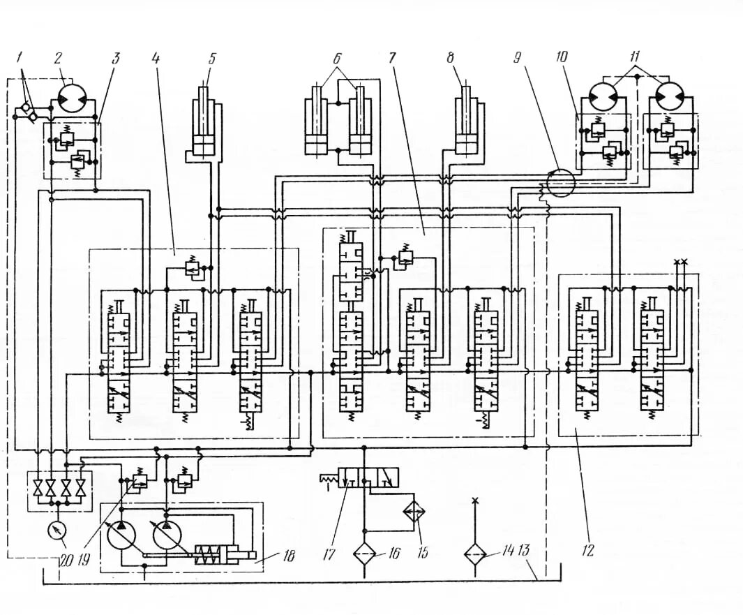
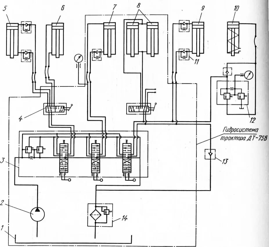
Схема гидросистемы