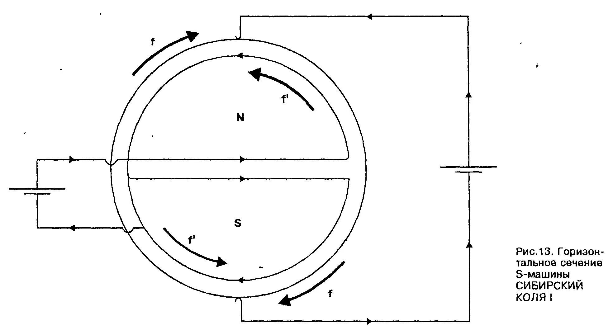
Схема коль