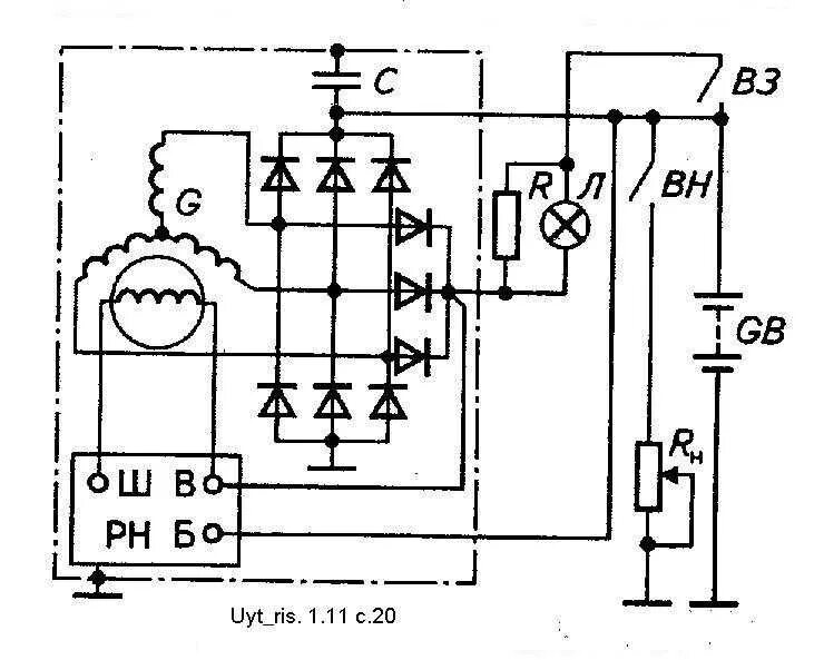
Схема подключения генератора 24 вольта