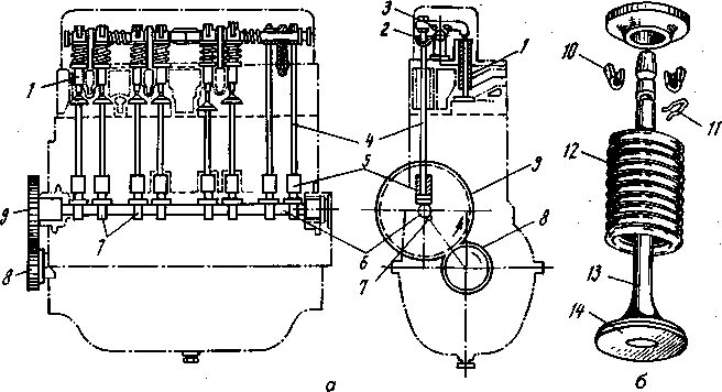
Схема расположения клапанов