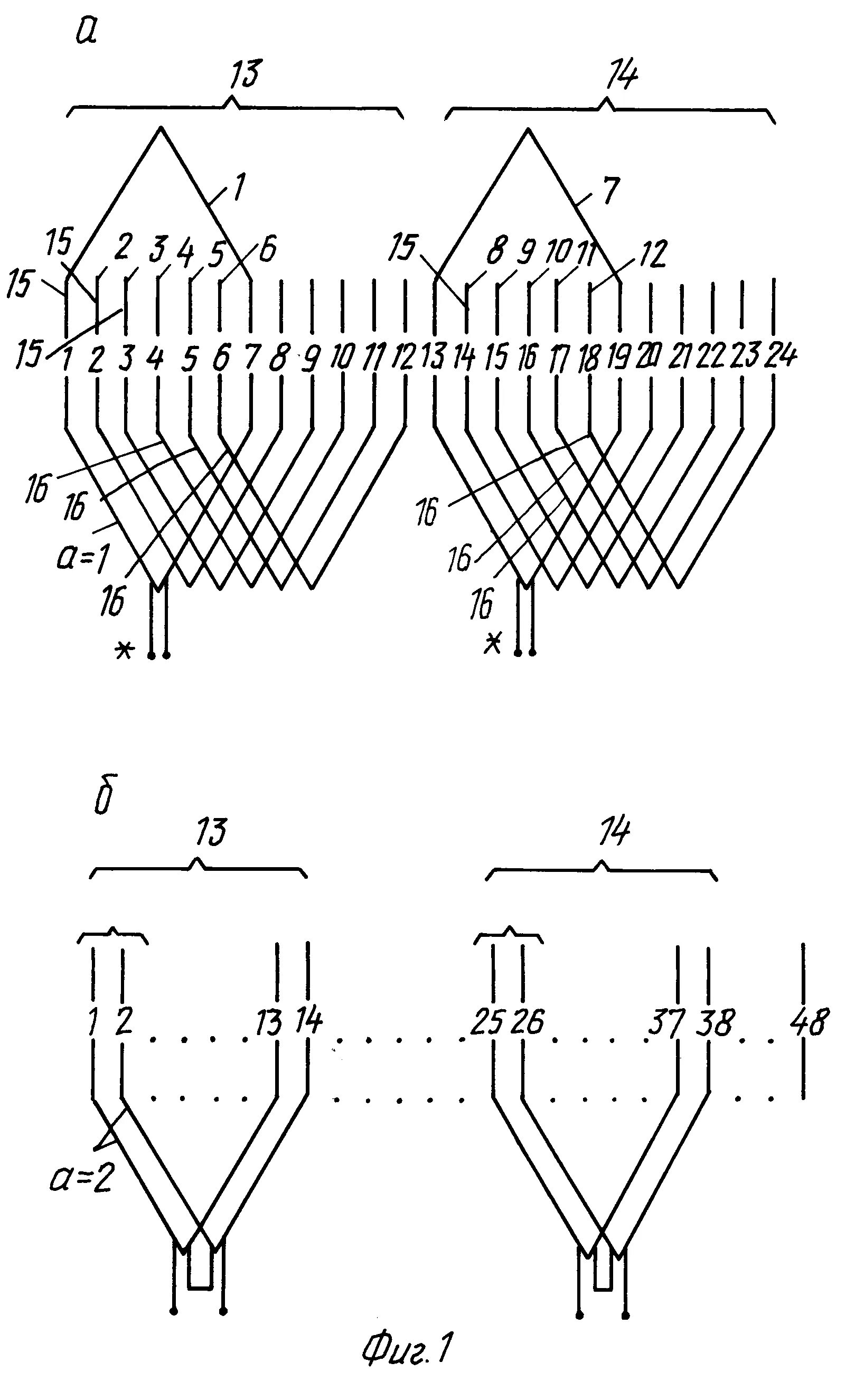
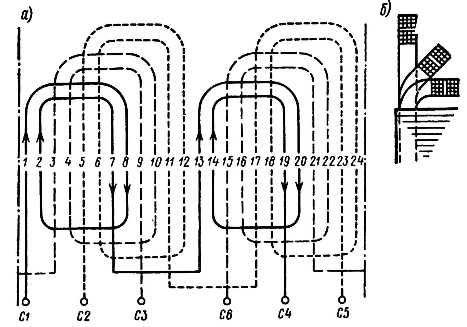
Схемы обмотки статора