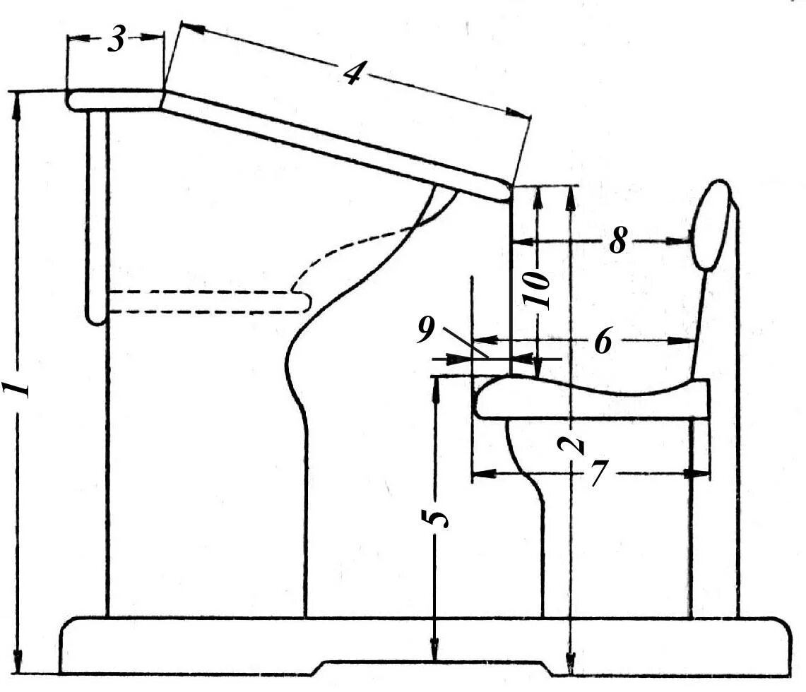
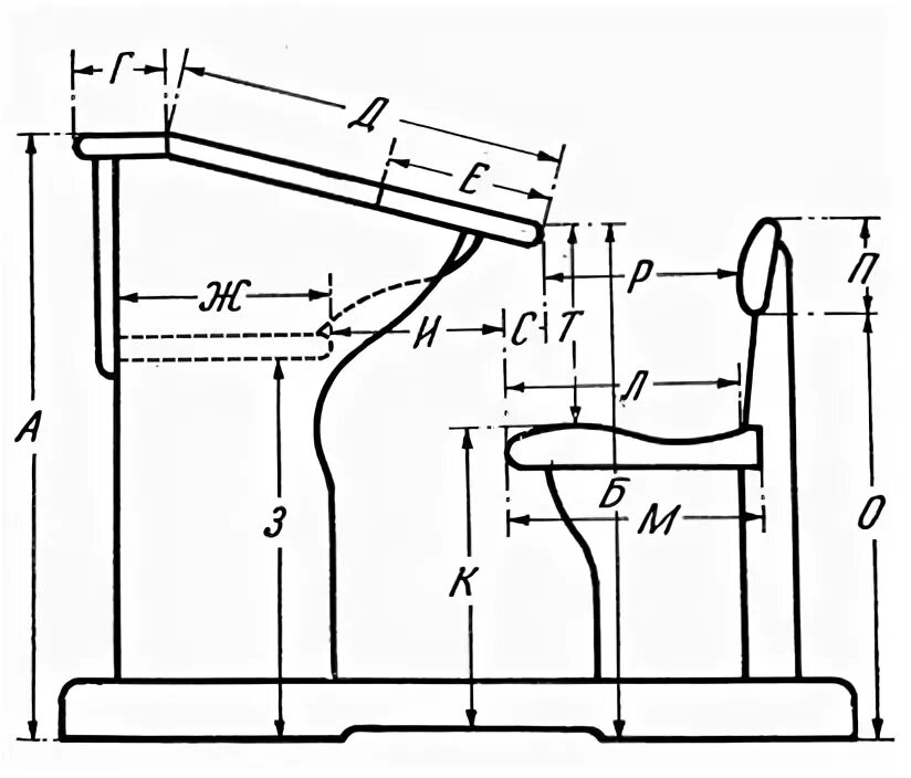
Школьная парта чертеж