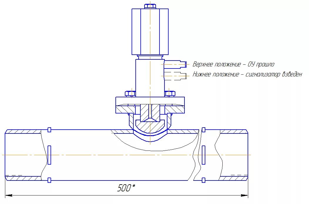
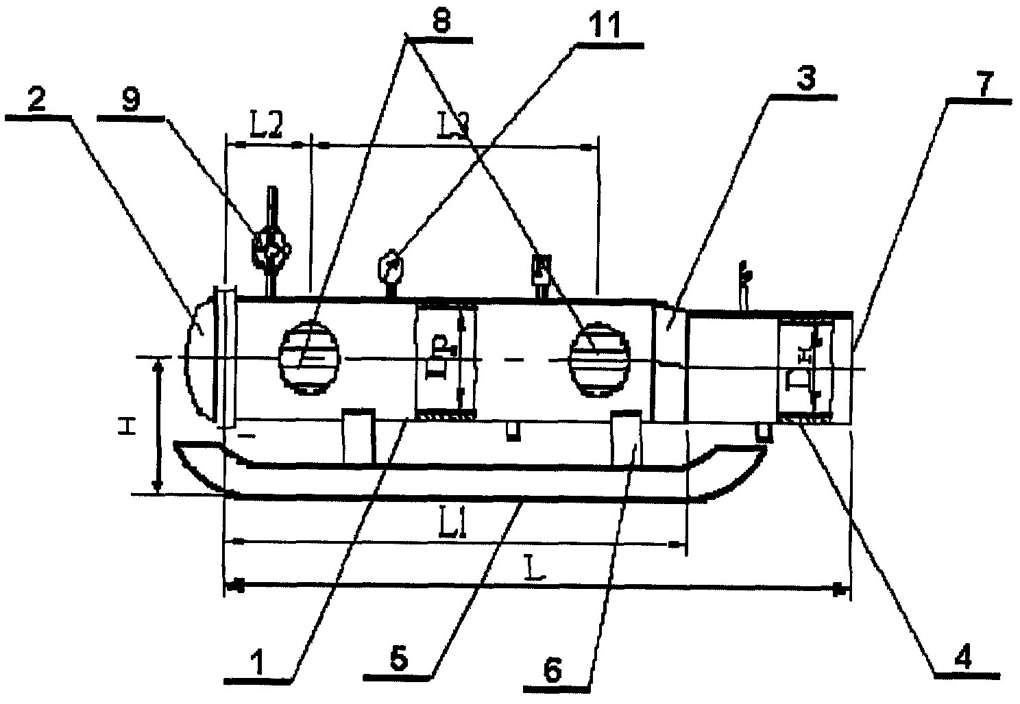
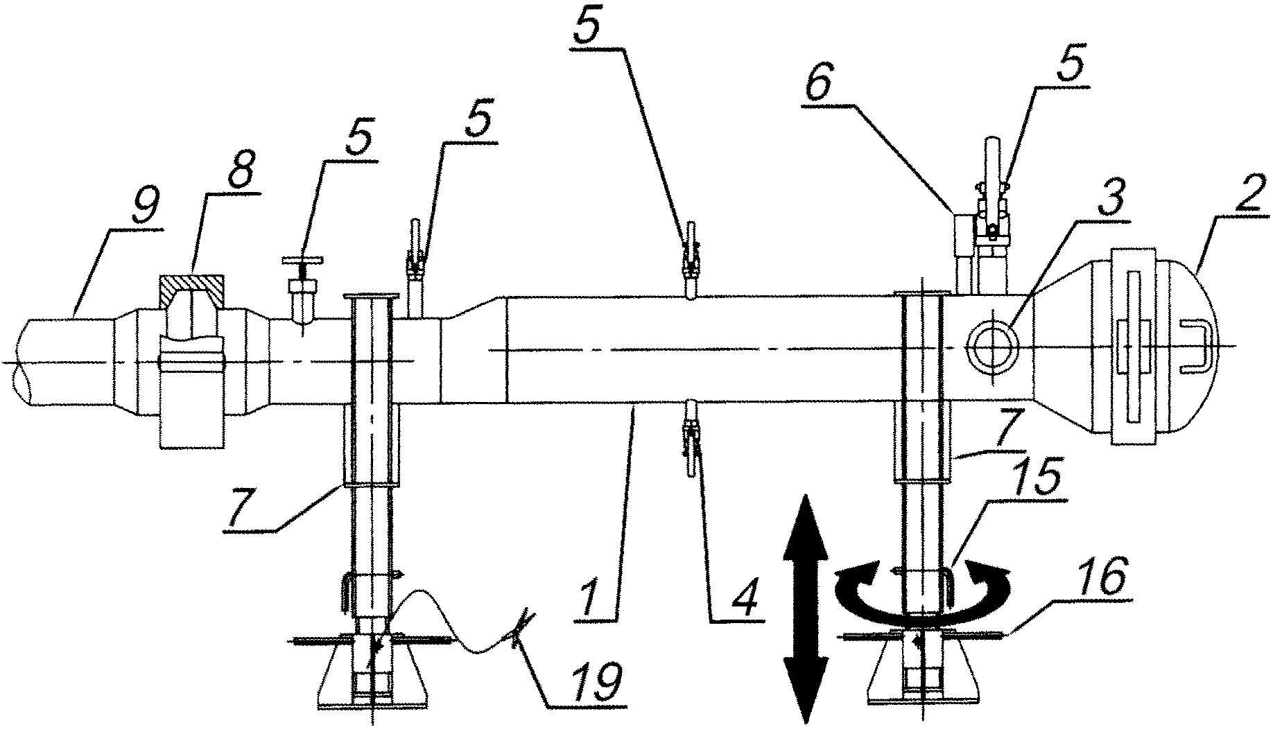
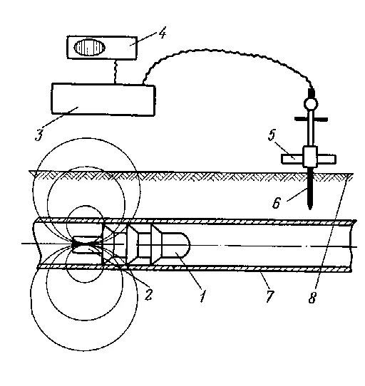
Сигнализатор прохождения очистного устройства