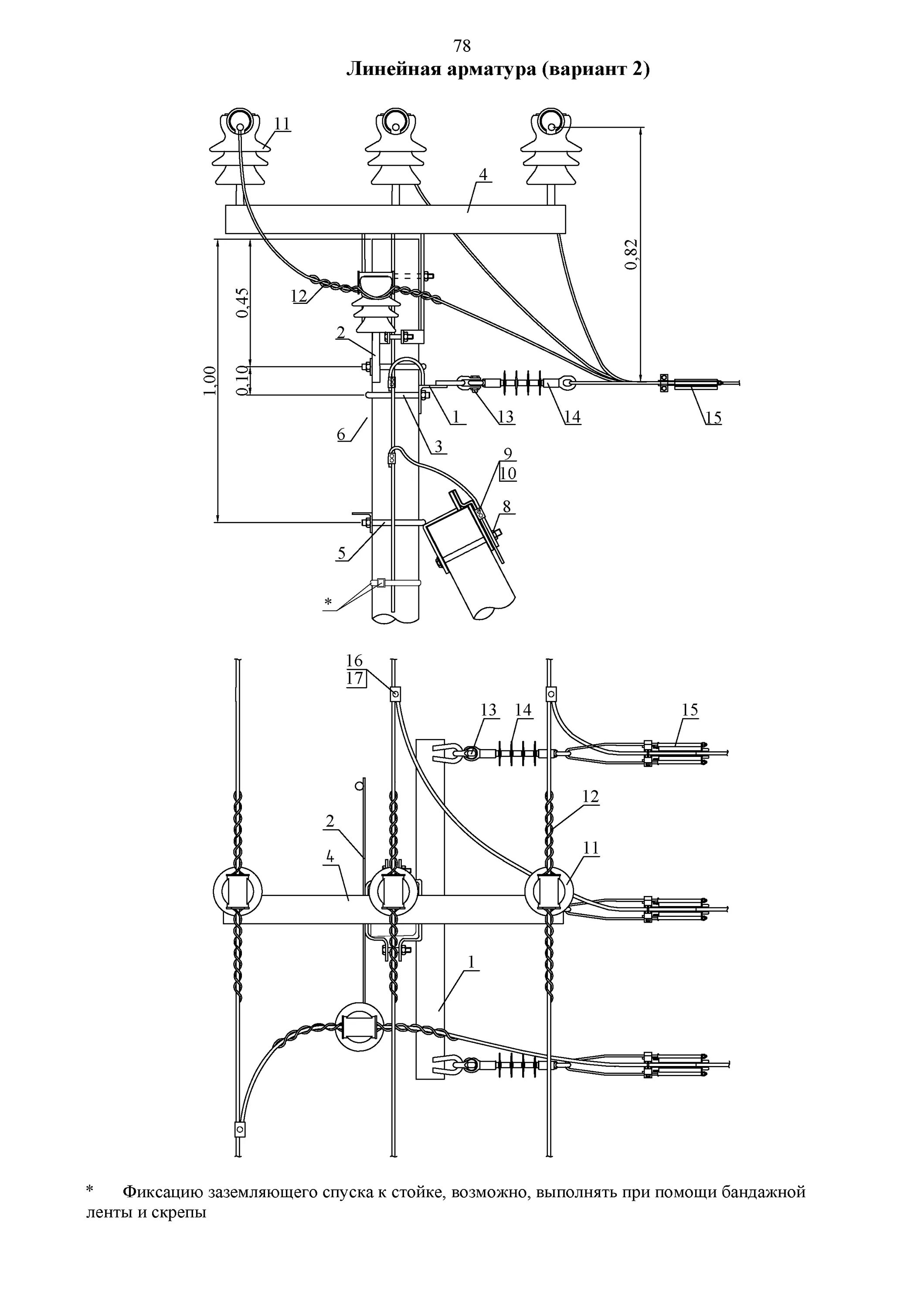
Сип 3 монтаж