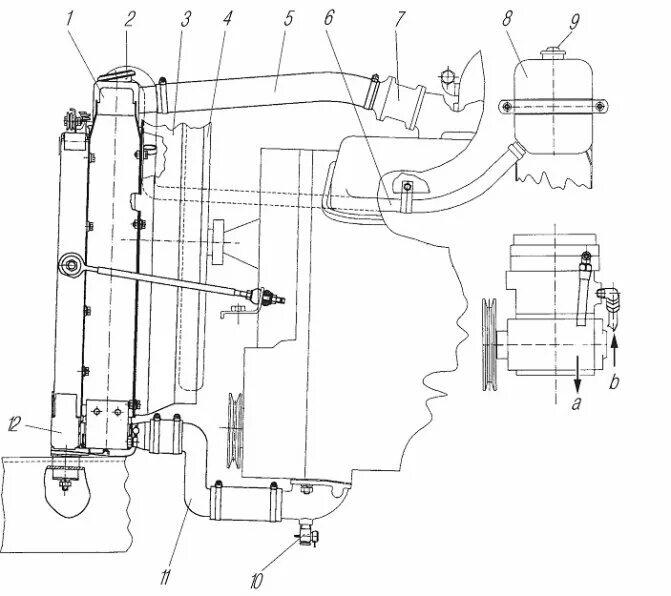
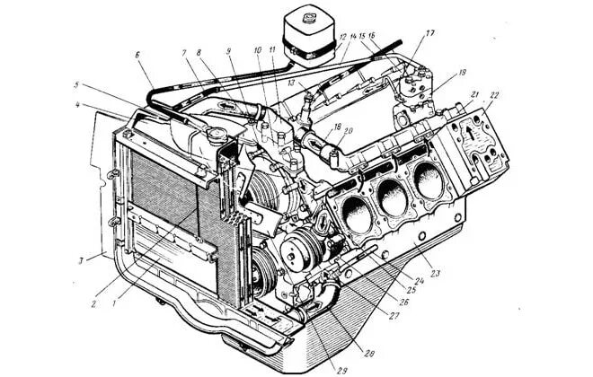
Система охлаждения двигателя урал 4320