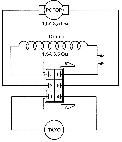
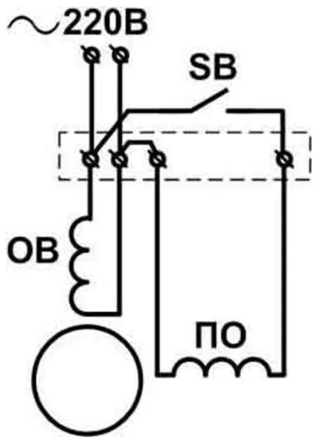
Сопротивление двигателя стиральной машины