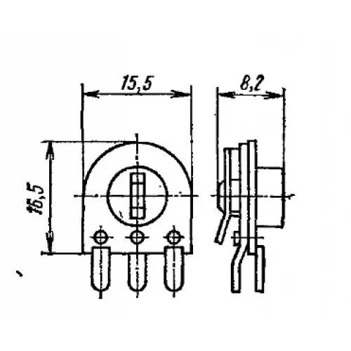
Сп 3 16