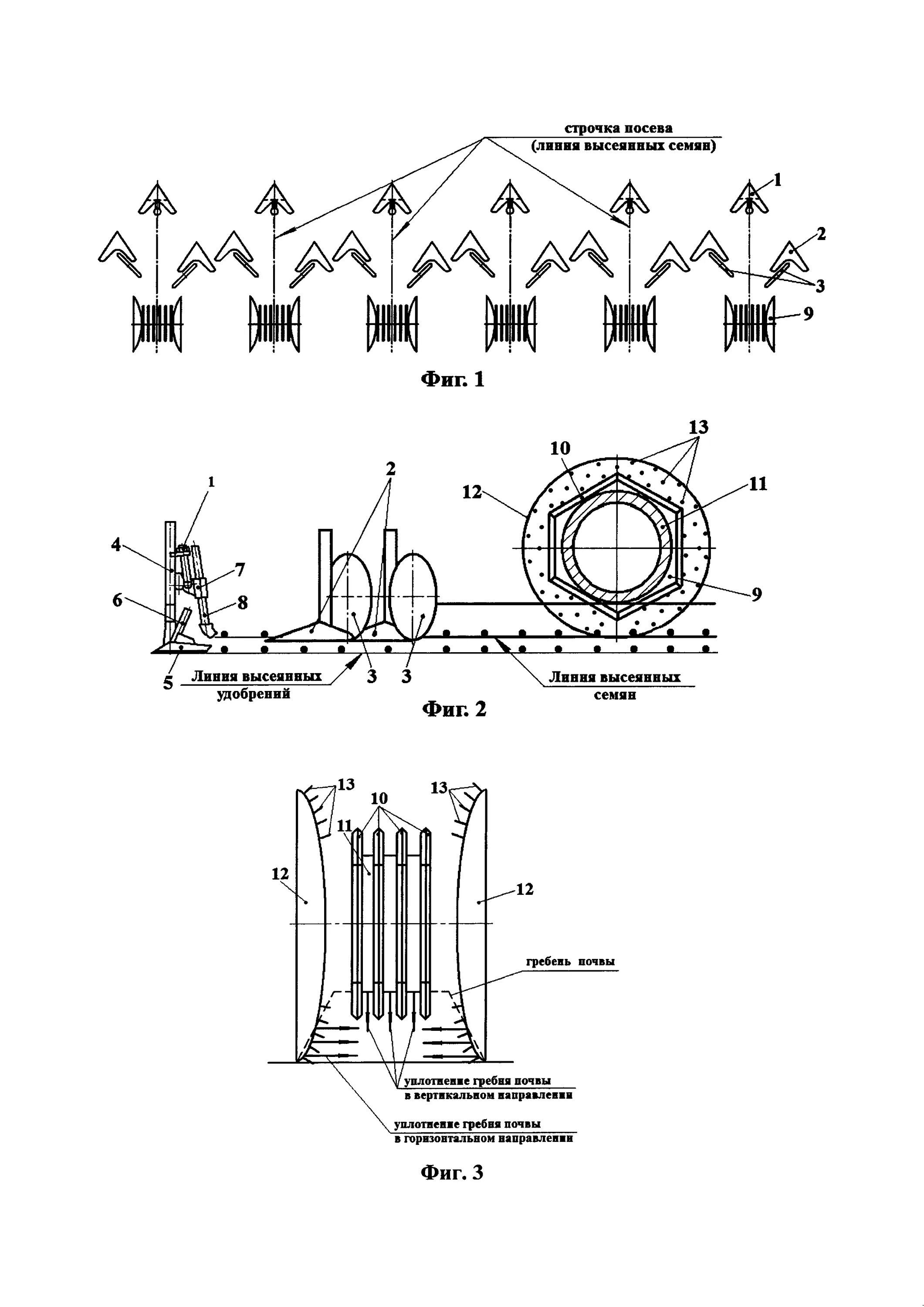
Способы посева посадки