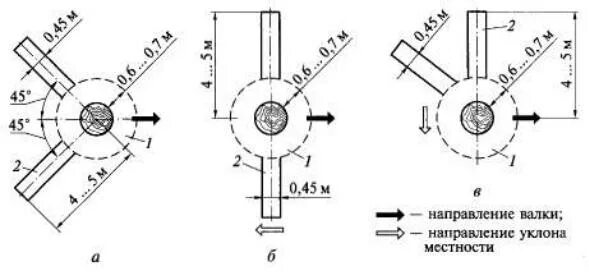
Способы валки