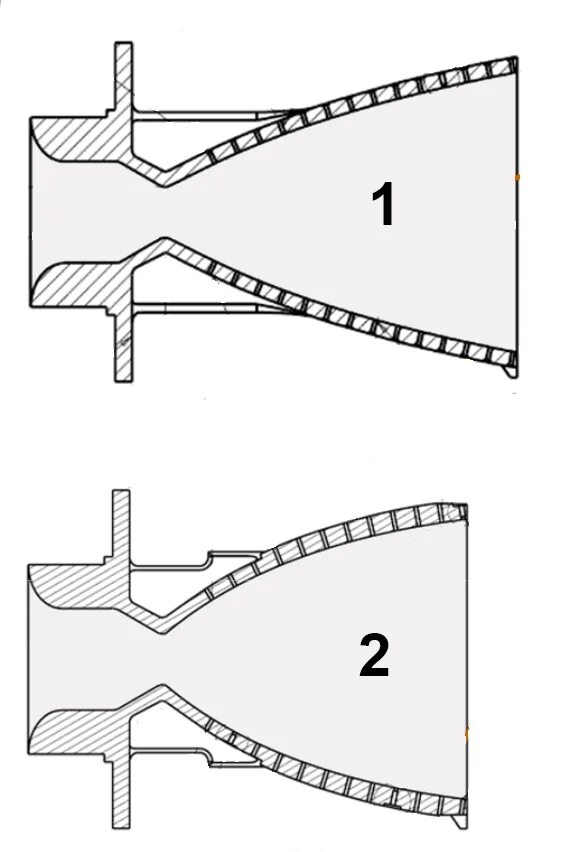
Срез сопла