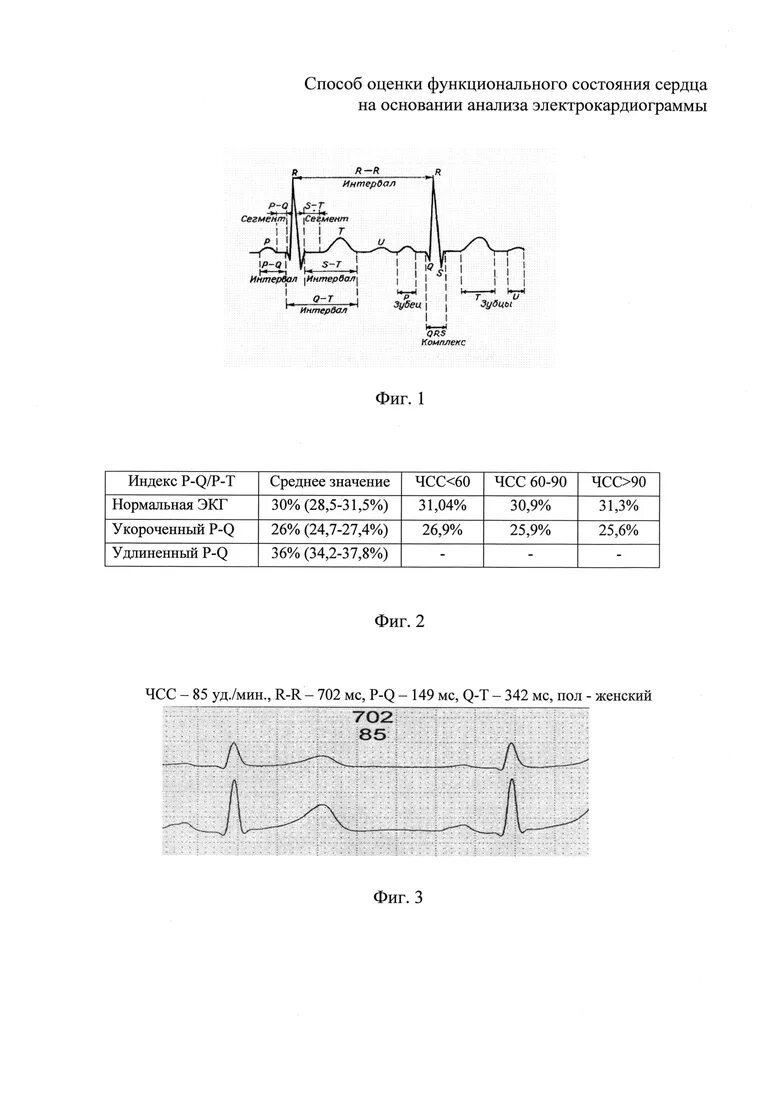
Срок анализов экг