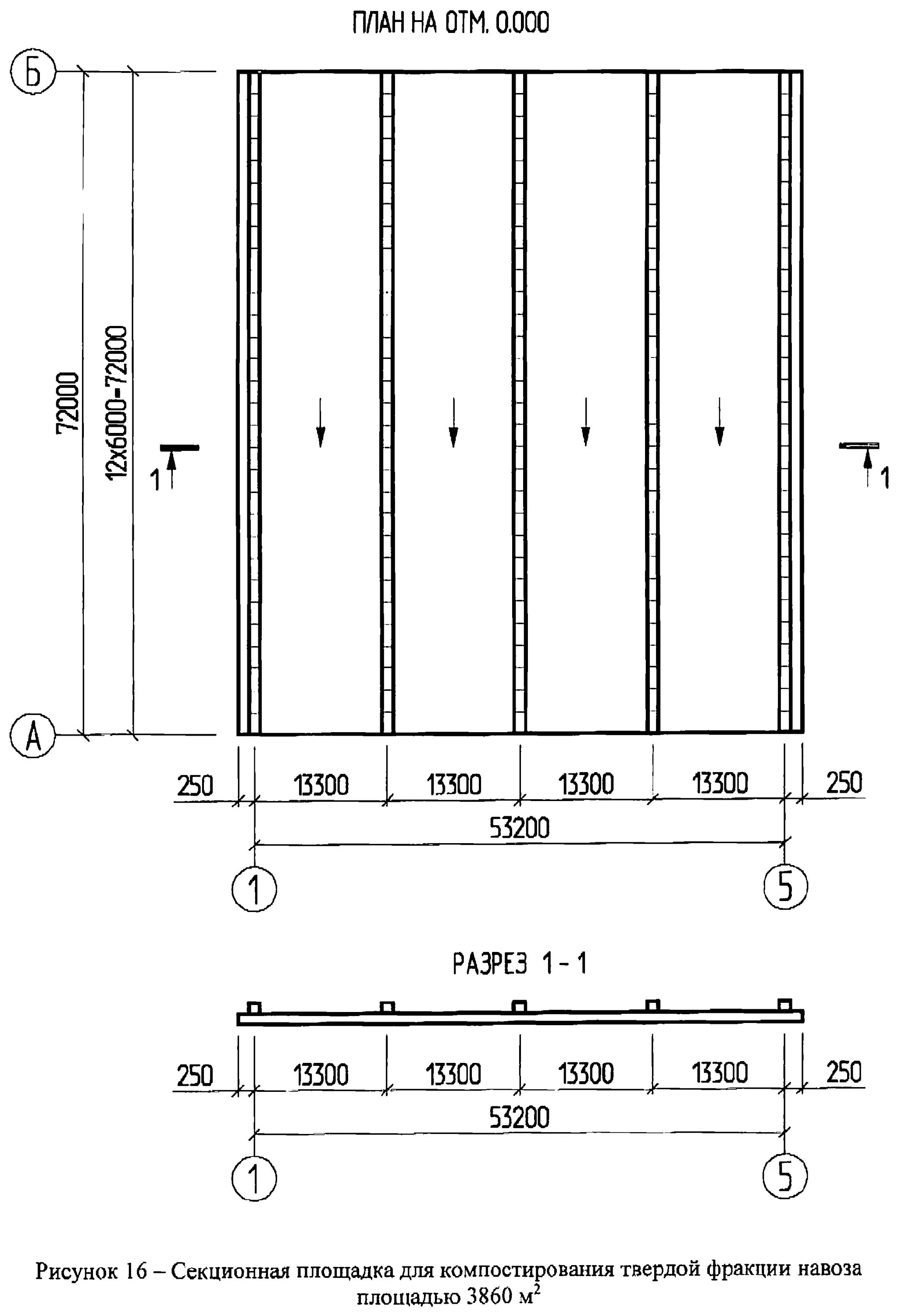
Свод правил сп 165.1325800 2014