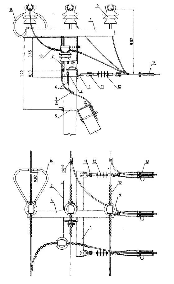
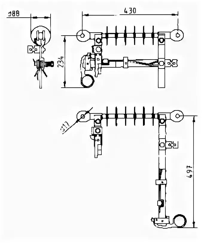
Sz24 разъединитель