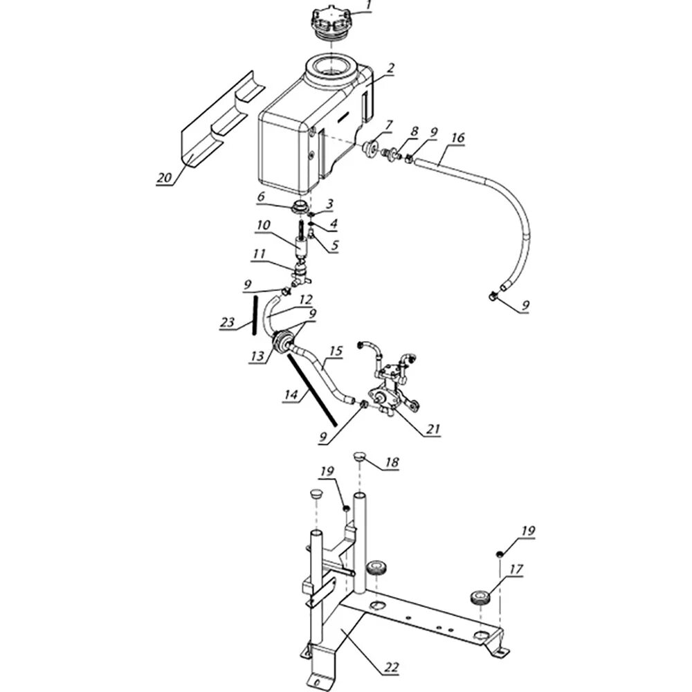
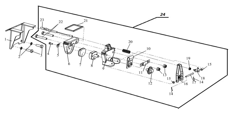
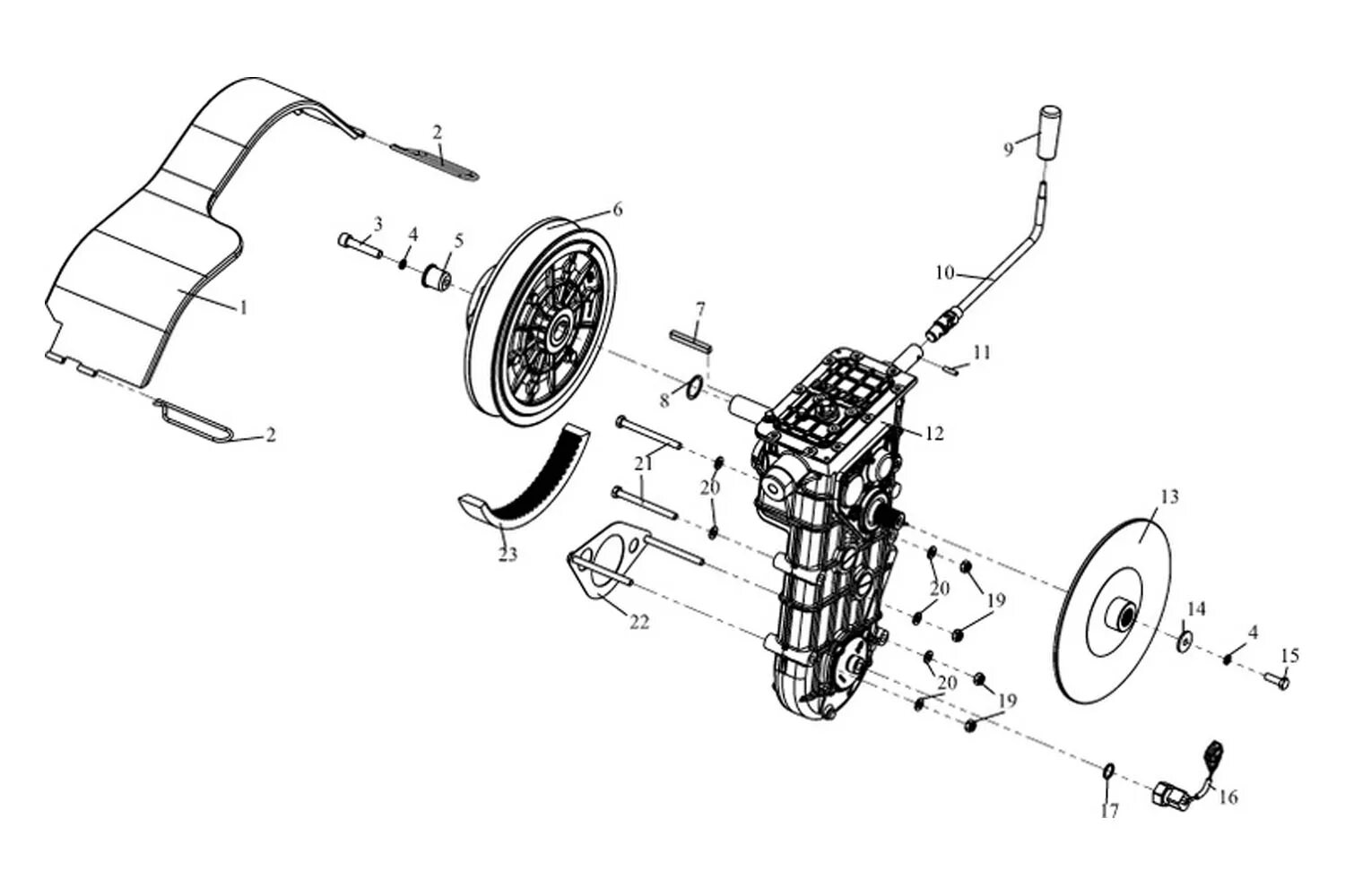
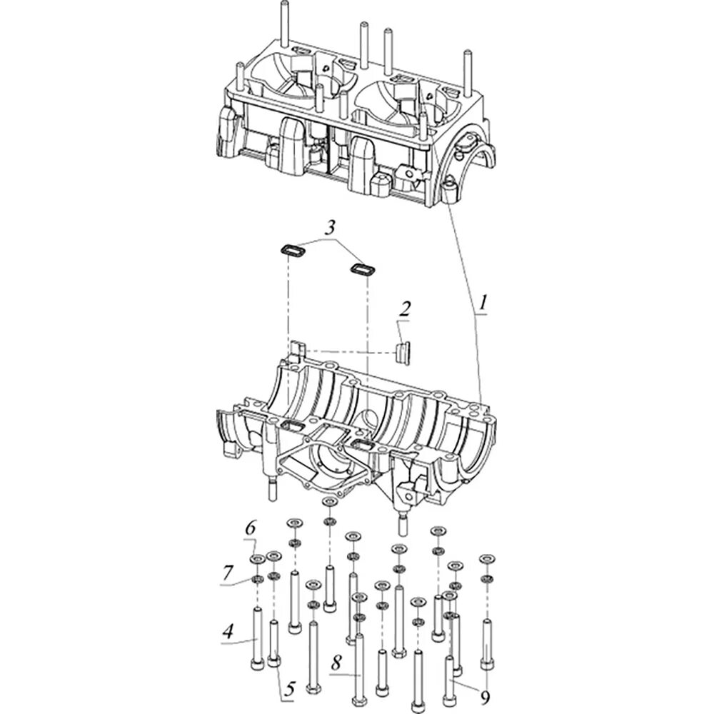
Тайга 551 запчасти