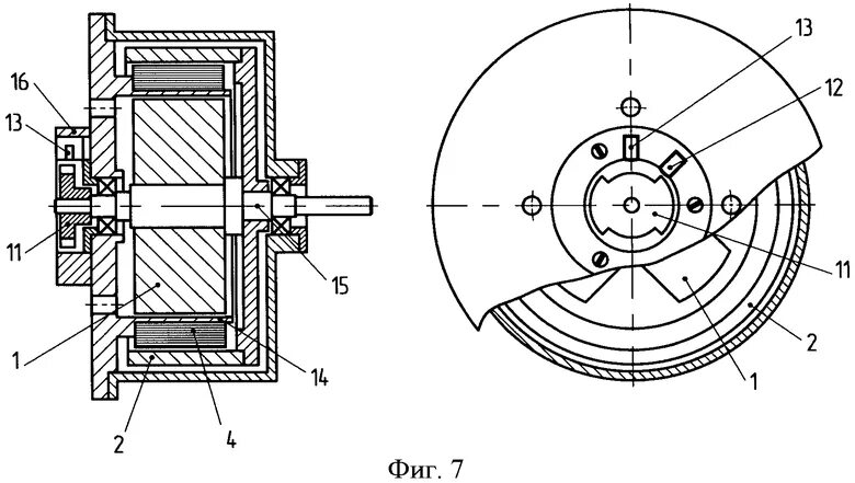
Торцы двигателя