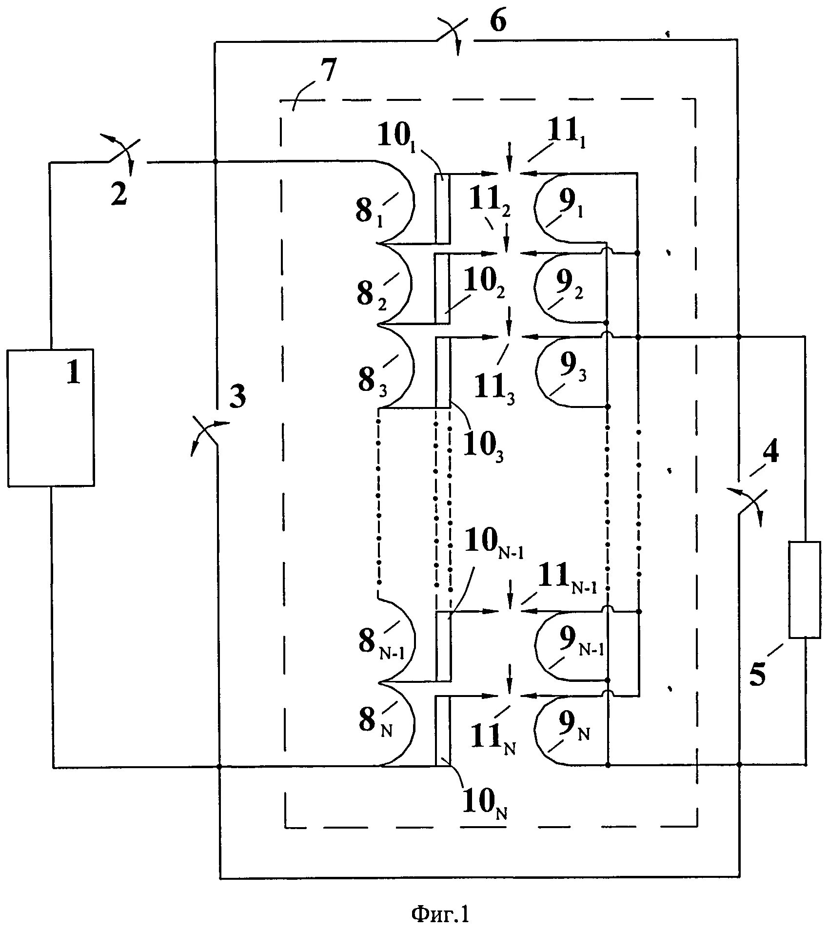
Трансформатор связи