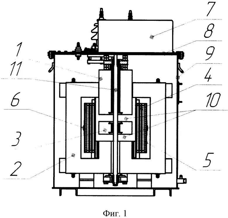
Трансформатора дугогасящего реактора