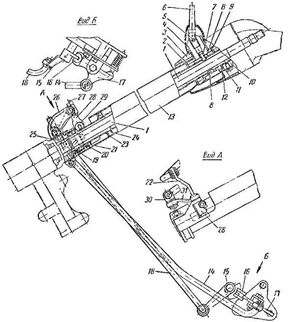
Трансмиссия ручного управления